举办行业峰会、论坛等会议一直都是国内各类行业协会和商会的主要活动形式。在举办行业峰会活动时,需要给行业企业和合作伙伴等发送会议邀请函,邀请大家出席活动。由于邀请的人数较多以及邀请函需要详细的介绍会议的主题、会议时间、会议地点、会议流程等等,为了快速准确的把邀请函发送给参会企业,通过电子邮件发送会议邀请函成为了最佳的选择。

上海有色网信息科技股份有限公司是全球领先的有色金属行业综合服务门户,提供包括金属和采矿行业的基准价格、分析、资讯、咨询和会议等信息。上海有色网总部位于上海,在中国有色、黑色和电动汽车金属行业拥有广泛深厚的关系和人脉。此外,上海有色网也在新加坡、英国设有海外子公司,并拥有完善的销售网络,为全球金属生态系统的客户提供服务。
最近该公司成功举办了多场行业峰会,都是选择和U-Mail邮件营销平台合作,通过邮件群发会议邀请函邀请的方式相关企业参加会议的,并且取得非常理想的效果。

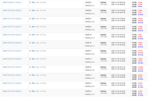
上图是上海有色网信息科技股份有限公司举办的2021SMM华南有色金属年会的邀请函发送数据。这次年会总共需要发送100万封邮件邀请函,由于发送量大,在U-Mail邮件营销平台客服人员的建议下,上海有色网信息科技股份有限公司的工作人员采用了分批分时段的发送模式,邮件发送的成功率在97%左右,邮件发送的点击率最高达到了35.29%。这主要得益于U-Mail邮件营销平台强大的邮件群发系统和十多年的邮件营销服务经验。

上图是上海有色网信息科技股份有限公司举办的2021SMM华南有色金属年会的邀请函邮件内容。这封邮件内容简洁明了,首先告知被邀请人本次年会举办的主题和背景以及会议的大致环节,如果想了解更多会议详细可以微信扫描邮件中的二维码查看,并把邀请函和参会回执采用邮件附件的形式一并发送。由于邮件中带有附件,并且最大的附件有5.15MB,非常容易造成邮件发送速度缓慢、投递失败、ISP拦截等情况,如果使用邮件*来发送效果可能会大打折扣,但是对于U-Mail邮件营销平台来说“小菜一碟”,因为U-Mail邮件营销平台拥有大量邮件服务器和优质IP资源,采用IP轮循机制群发邮件,保障了邮件发送的稳定性,可以做到群发千万不封号,而邮件*前期可以发送一定数量邮件,后期容易封号,封IP,要不断注册使用不同发件箱,不仅效率低,效果也没保障。并且U-Mail技术研发团队一直不断在优化平台功能,先后推出了邮件预发送效果检测、无效邮件地址清洗、白名单服务、邮件内容动态化等特色功能,以此来帮助客户提升邮件群发的效果。
如果您也有邮件群发发送邀请函或营销邮件的需求,可以找U-Mail邮件营销平台,先试用后付费
申请创业报道,分享创业好点子。点击此处,共同探讨创业新机遇!
